Oberwelt e.V.
Reinsburgstrasse 93 D 70197 Stuttgart Tel. + Fax: +49 711 6150013 kontakt[at]oberwelt.de www.oberwelt.de


THEORIEFELD 1

Eine Skulptur als Modell eines Meta-Kunstwerks
Kurt Grunow / Begleitbüro SOUP (Stuttgarter Observatorium urbaner Phänomene)



(english version below) Wenn ein Kunstwerk etwas ist, das infolge seines Bedeutungsüberschusses mehr Energie freisetzt, als in es investiert wurde, so gilt das Perpetuum Mobile (PM) als ein prägnantes Sinnbild hierfür.
Theoriefeld 1 versucht diesem Gedanken über notwendige Umwege auf die Spur zu kommen und ist unter anderem als Versuch zu sehen, den komplexen Nachlass von Harry Walter, dem 2024 verstorbenen Mitbegründer von Begleitbüro SOUP, auszulesen und künstlerisch fruchtbar zu machen.
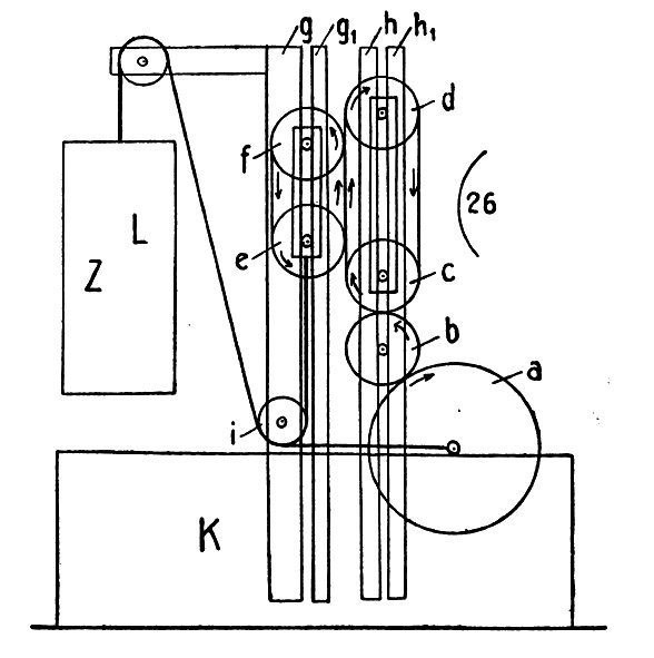
Es wird ein Display als Diskursplattform geschaffen aus Material, das ursprünglich zu einem unvollendet gebliebenen Werk des Stuttgarter Künstlers Mark Steffen Bremer gehörte. Dieser hatte ein zum Scheitern verurteiltes Werk zur Vorlage, das er modellhaft weiterzudenken und zu interpretieren versucht hatte: eine von dem gelernten Industriedesigner Günther Böhme konstruierte und von Harry Walter als Meta-Kunstwerk reflektierte Maschine, die der über Jahrzehnte verfolgte, mehr oder weniger ernsthafte Versuch ist, ein PM zu konstruieren, das ein für allemal das Energieproblem als drängendste Frage der Menschheit lösen sollte.
Teil des Displays und eng mit dem sprachlichen Bild der Meta-Maschine verbunden sind die Einlassungen aus der ‚Dachkammer‘, einem Ort für künstlerische Erkenntnisse von Kurt Grunow. Das Theoriefeld 1 verschafft dem beschriebenen Gesamtbild Raum zur Entfaltung und lädt ein zu entspanntem Diskurs und Betrachtung.

Eröffnung am Freitag, 7. November, 19:00 Uhr

Besichtigung der Ausstellung bis 29. November Montags 21:30 bis 24 Uhr, Freitage 14. und 21. November, 14 bis 18 Uhr und nach Vereinbarung unter invitation (at) oberwelt.de

Sonderöffnung: Sonntag, 23. November, 14 bis 21 Uhr

Besprechung der Ausstellung von Dietrich Heißenbüttel in der Kontext Wochenzeitung






THEORETICAL FIELD 1
A sculpture as model of a meta-artwork
Kurt Grunow / SOUP (Stuttgarter Observatorium urbaner Phänomene [Stuttgart Observatory of Urban Phenomena])


When you have an artwork that, as a result of a surplus of significance, releases more energy than has been invested in it, the perpetuum mobile (PM), or perpetual motion machine, serves as a succinct symbol for it.

Theoretical Field 1 seeks to pursue this idea, taking in necessary detours, and can be viewed among other things as an attempt to work through the complex estate left by Harry Walter, one of the co-founders of Begleitbüro SOUP, who died in 2024, and to make it creatively fruitful.

As a platform for discourse, a display is created from material that originally formed part of a work that was left unfinished by the Stuttgart artist Mark Steffen Bremer. Bremer had taken as his template a work that was doomed to failure, which he had tried to take a step further in model form and interpret: a machine designed by the qualified industrial designer Günther Böhme and reflected as a meta-artwork by Harry Walter, which is a more or less genuine attempt, pursued over decades, to construct a PM that would solve once and for all the energy problem that represents humankind’s most pressing issue.

Forming part of the display and closely linked with the figure of speech of the meta-machine are the submissions from the ‘Dachkammer’ [‘Attic’], a place of artistic endeavours by Kurt Grunow. Theoretical Field 1 provides the space for the overall picture described to be explored fully, and invites viewers to engage in relaxed discourse and consideration.

Opening on Friday, 7 November 2025 7 pm

the exhibition can be viewed until 29 November mondays 9 pm til midnight, Fridays 14 and 21 November 2 to 6 pm and by appointment at invitation (at) oberwelt.de

special opening: Sunday 23 November 2025 2 to 9 pm








back    <<O>>